Oficina Técnica
Si has llegado hasta aquí es porque quieres saberlo todo sobre nuestros tabiques móviles antes de arrancar tu proyecto ¡Genial! Estás en la sección adecuada, pero si después de llegar hasta abajo necesitas ampliar información puedes acceder a la sección de contacto. Nos gusta trabajar en equipo y los nuevos desafíos, y estaremos encantados de hablar contigo o programar una visita a nuestras instalaciones.
Despliega la sección sobre la que quieras saber más:
¿Qué es un tabique móvil?
Es una división física del espacio compuesta por paneles acoplados entre sí, que pueden desplazarse de forma sencilla por una sola persona con sus propias manos. Una vez en su posición, el tabique queda perfectamente estable manteniendo las propiedades estructurales y acústicas de un tabique sólido. Un tabique móvil no es una mampara (no se pueden desplazar), ni una puerta de acordeón (sin estabilidad ni capacidad de aislamiento). Tampoco fabricamos paneles rodantes ni que deslizan sobre carriles en el suelo. Nuestros tabiques móviles van suspendidos de una guía empotrada en el falso techo u oculta mediante galería de cartón-yeso o madera en el caso de que no haya falso techo.
¿Cómo se instala un tabique móvil?
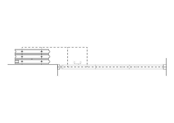
Nuestros tabiques móviles se desplazan a través de una guía de aluminio fijada a elemento resistente por su parte superior, sin ningún tipo de guía inferior. Utilizamos distintos anchos de guía adaptados a cada modelo de tabique y distintos sistemas de fijación en función del forjado existente; si este no ofrece la capacidad portante necesaria colocamos una estructura auxiliar de la que suspender la guía.



La guía se coloca perfectamente nivelada y cuenta con dos alas laterales sobre las que apoyar el falso techo o la galería de ocultación. El momento ideal para esta intervención es justo antes de cerrar techos.



Una vez instalada la guía, en una intervención posterior, se colocan los paneles y las piezas de ajuste horizontal. Se trata de una instalación limpia que puede hacerse coincidir con la entrada de mobiliario antes de finalizar la obra.
¿Cuánto se tarda en instalar un tabique móvil?
Instalamos las guías dentro de los primeros diez días laborables tras la aceptación del presupuesto y comenzamos la fabricación de los paneles a partir de las medidas tomadas tras la instalación de la guía. Para acabados en stock, el plazo medio para la instalación de los paneles es de quince días laborables más.
Fabricamos en dos fases para asegurarnos de que no hay modificaciones imprevistas en las medidas, aunque también podemos actuar en una sola fase. Somos una empresa altamente industrializada y tenemos capacidad para ajustar al máximo los plazos incluso en picos de producción.
¿Cómo se desplazan y se recogen los paneles? Tabiques monodireccionales y multidireccionales.
Los tabiques móviles pueden contar con dos tipos de desplazamiento: monodireccional (MoD) y multidireccional (MuD).
Cuando los tabiques son monodireccionales, los paneles cuentan con un único punto de cuelgue situado en la mitad del panel. De esta forma, sólo pueden desplazarse linealmente a lo largo de la guía. Para apilar los paneles, estos giran 90º con respecto a la posición final y se desplazan hacia uno o ambos extremos de la guía principal. Cuando están apilados, los paneles sobresalen la mitad de su anchura hacia ambos lados de la guía. Este es el sistema de desplazamiento más sencillo y más económico, pero no es adecuado si el tabique se coloca junto a puertas o ventanas ya que pueden quedar canceladas

Cuando los tabiques con multidireccionales, los paneles cuentan con dos puntos de cuelgue lo que permite que se desplacen fuera de la guía principal mediante piezas especiales y tramos de guía adicional. Así, los paneles pueden apilarse de distinta forma en función de las necesidades del proyecto. El sistema multidireccional admite libertad total en su configuración permitiendo librar zonas de paso y dejando libres las entradas de luz. Estas son algunas de las opciones de apilamiento multidireccional más habituales.



¿Cómo se fijan los paneles en su posición y entre sí? Tabiques divisorios y tabiques acústicos.
Parte del grado de aislamiento que alcanzan los distintos modelos de nuestra gama está directamente relacionada con su sistema de fijación. Los tabiques móviles divisorios son aquellos destinados a crear una división meramente espacial. Los módulos se ensamblan mediante conectores ocultos y se fijan en su posición mediante pasador a suelo oculto en el canto y pasador frontal a suelo en el panel de cierre. El ajuste vertical se realiza con doble cepillo de nylon en la parte superior como inferior del panel. Por este motivo, estos paneles no garantizan el cierre fónico.

Los tabiques móviles acústicos ofrecen distintos grados de aislamiento debido al material con que se rellenan los paneles, desde el entorno de los 34dB a los 54dB certificados en laboratorio. Los módulos se ensamblan mediante perfiles machihembrados y cuentan con un doble zócalo extensible hasta suelo y guía accionado desde el canto mediante cuarto de vuelta de manivela extraíble (disponible fijación automática como suplemento). El último módulo cuenta con un zócalo lateral para cerrar el tabique horizontalmente accionado desde el frente con el mismo sistema de fijación. Las juntas y encuentros se realizan con perfiles de EPDM de diseño propietario que garantizan un perfecto sellado y estanqueidad fónica.

En todos los casos el ajuste contra los paramentos se realiza mediante piezas de arranque y cierre fijas para la regularización de los mismos (rodapié, paso de tuberías de calefacción, desplomes…).
¿Qué limitaciones tienen los tabiques móviles?
Dentro de las opciones estándar fabricamos paneles de vidrio hasta 4m de altura y ciegos hasta 12m. Si esto no fuera suficiente, ponte en contacto directamente con nosotros para poder ofrecerte una solución a medida.
¿Qué acabados hay disponibles?
Fabricamos nuestros tabiques móviles con los mejores materiales tanto por prestaciones técnicas como estéticas y funcionales. El acabado estándar de los tabiques ciegos es melamina sobre aglomerado. Mantenemos un stock permanente de tableros de Finsa y Egger, pero contamos con una amplia red de proveedores nacionales e internacionales para poder ofrecer cualquier acabado disponible en el mercado o combinaciones de estos:
- Tableros aglomerados acabados en melamina o HPL
- DM lacado o crudo para pintar
- Tableros hidrófugos o ignífugos
- Tableros rechapados en madera natural, laminados escribibles y magnéticos…
- Tableros acabados con chapa de acero, ranurados, boiserie…
- Entelados, microperforados, con velo acústico, fonoabsorbentes…
Para los tabiques de vidrio empleamos vidrio laminado de seguridad transparente con opción de montar vidrios translúcidos, acabados al ácido, vinilos…
¿Pueden colocarse puertas en los tabiques móviles? Paneles especiales
- Puertas fijas en extremo de tabique móvil (admiten cualquier paso)
- Puertas embebidas en un panel (paso de 725mm, 825mm y 925mm)
- Puerta doble conformada por dos paneles
- Panel con ventana de vidrio laminar sencillo, vidrio doble, Climalit…
- Panel en L o en T para formar intersecciones
¿Fabricáis tabiques móviles a medida?
¡Por supuesto! Nos encantan los retos. El trabajo junto a nuestros clientes ha hecho posible que hayamos mejorado de forma continua por lo que estaremos encantados de hablar contigo o programar una visita a nuestras instalaciones para escuchar tus propuestas.
¿Qué es BIMObject?
Building Information Modeling (BIM) es una metodología de trabajo colaborativa para la creación y gestión de un proyecto de construcción.
Los objetos BIM son réplicas digitales de productos reales necesarios para el diseño y desarrollo de un proyecto.
Estos objetos pueden ser descargados e integrados en cualquier software BIM y contienen toda la información relevante del producto, tanto información geométrica como especificaciones técnicas.
Tabiexpert y BIMObject han trabajado conjuntamente para poner a disposición de los clientes las herramientas más avanzadas.